|
Рабочие жидкости для гидросистем. Гидравлические линии Регулирующая и направляющая аппаратура Вспомогательные устройства гидросистем Гидравлические следящие приводы (гидроусилители) Системы разгрузки насосов и регулирования гидродвигателей |
|
||||||||||||
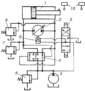
![]() | |
| Рис.10.1. Схема типовой гидросистемы с регулируемым насосом |
Рис.10.2. Гидросистема с дроссельным управлением |
Положение распределителя в левой его позиции (жидкость поступает в перерывающиеся каналы правого поля распределителя) соответствует движению поршня силового цилиндра 3 вправо (жидкость от насоса поступает в левую полость), причем в этом положении распределителя 6 и утопленного переключателя 5 жидкость как от насоса, так и из нерабочей (правой) полости цилиндра 3 поступает в левую его полость (в этом случае рабочей площадью цилиндра является площадь сечения штока), что способствует ускоренному перемещению поршня вправо. После того, как нажатие упора 4 на переключатель 5 прекратится, он под действием пружины переместится вверх и отсечет левую полость цилиндра 3 от правой, соединив последнюю через распределитель с баком 8. В результате в левую полость цилиндра будет поступать лишь жидкость, проходящая через регулируемый дроссель 2, что соответствует регулируемому рабочему ходу поршня цилиндра 3.
При установке распределителя 6 в правое положение жидкость от насоса 9 поступает при неутопленном переключателе 5 в правую полость цилиндра 3, осуществляя обратный ход поршня. При этом жидкость, вытесняемая из левой полости цилиндра 3, поступает через дроссель 2 и обратный клапан 1 в бак.
При нажатии в этом случае на переключатель 5 канал насоса перекроется.

На рис.10.3, а представлена схема гидросистемы с силовым цилиндром 1 одностороннего действия и регулируемым насосом 4. Гидросистема упра-вляяется трехходовым двух-позиционным распределителем 2 с ручным приводом. Для предохранения от перегрузок система снабжена предохранительным клапаном 3.
В положении распределителя 2, представленном на рис.10.3, а, жидкость от насоса поступает в силовой цилиндр 1. Линия бака при этом перекрыта. При перемещении распределителя в противоположное положение выходной канал насоса 4 перекрывается, а цилиндр 1 соединяется с баком, в результате поршень цилиндра под действием веса приводимого узла опускается вниз. Скорость опускания регулируется с помощью дросселирования отводимой жидкости распределителем 2.
При применении в последней схеме трехходового трехпозиционного распределителя (рис.10.3, б) можно обеспечить в среднем его положении запирание жидкости в силовом цилиндре 1 (для удержания, например, груза в поднятом положении) при одновременном соединении насоса 4 с баком.
![]() | |
| Рис.10.4. Гидросистема с двухступенчатым (пилотным) распределением |
Рис.10.5. Гидросистема с двухступенчатым (пилотным) распределением и ручной разгрузкой |
Схема гидросистемы с силовым цилиндром 1, снабженная подобным двухступенчатым распределителем, состоящим из основного 2 и вспомогательного 3 четырехходовых золотников, представлена на рис.10.4. Система снабжена регулируемым насосом 6, а также предохранительным 5 и обратным 4 клапанами. Основной трехпозиционный четырехходовой распределитель 2 с отрицательным перекрытием каналов (см. также рис.5.7) в среднем положении управляется давлением рабочей жидкости с помощью вспомогательного трехпозиционного четырехходового распределителя 3 с ручным или иным управлением. В среднем положении этого вспомогательного распределителя, представленном на рис.10.4, рабочие полости цилиндров сервопривода основного распределителя 2 соединены между собой с баком 7. В результате этот распределитель устанавливается под действием пружин в среднее положение, при котором все его каналы соединяются с баком, что соответствует разгрузке (переводу в режим холостого хода) насоса.
Схема аналогичной системы представлена на рис.10.5. Система снабжена нерегулируемым насосом 6 с ручной разгрузкой (переводом насоса на холостой ход), осуществляемой с помощью двухступенчатого двухходового распределителя (переключателя) 7. Реверсирование движения поршня силового цилиндра 1 осуществляется с помощью упоров, установленных на его штоке, воздействующих на четырехходовой двухпозиционный распределитель 5, обеспечивающий переключение (реверсирование) основного четырехходового двухпозиционного распределителя 3 скорость переключения распределителя 3 ограничена дросселями 2 и 4.
В ряде случаев (в металлорежущих станках и пр.) требуется обеспечить непрерывные колебательные прямолинейные
или поворотные движения исполнительного гидродвигателя.
Схема такой гидросистемы с гидродвигателем поворотного действия (моментным гидроцилиндром) 4 приведена на
рис.10.6. Управление системой осуществляется автоматически действующим двухпозиционным распределителем 2 и
разгрузочными клапанами последовательного включения 6 и 11 с управлением с помощью давления жидкости,
перепускаемой предохранительными клапанами 5 и 7 в конце каждого хода поворотного поршня цилиндра.
В положении аппаратов системы, представленном на рис.10.6, жидкость от регулируемого насоса 1 поступает через двухпозиционный гидравлически управляемый распределитель 2 и напорную магистраль 3 в цилиндр 4 и удаляется из последнего в бак через магистраль 8. В конце каждого хода поршня поворотного цилиндра 4 клапан 7 в результате повышения давления перепускает жидкость в линию 10 управления распределителем 2 и клапаном 11, перемещая их рабочие элементы. При этом клапан 11 соединяет линию управления 9, связанную с верхней полостью распределителя 2, с баком, в результате чего распределитель 2 переключается, соединяя насос с магистралью 8, ведущей в противоположную полость цилиндра 4. При этом происходит реверс последнего, причем в конце хода цилиндра вступают в действие в той же последовательности предохранительный 5 и разгрузочный 6 клапаны, обеспечивающие повторение реверса поршня цилиндра.
Рассмотренная схема применима также и для поворотных колебательных движений цилиндра прямолинейного движения.

![]() | |
| Рис.10.8. Схема системы с двумя спаренными насосами |
Рис.10.9. Схемы гидросистем с двумя спаренными насосами и газовым гидроаккумулятором |
Упрощенная схема такой системы приведена на рис.10.8. Ускоренное перемещение поршня обеспечивается суммарной подачей двух насосов высокого 2 и низкого 3 давлений. По окончании ускоренного перемещения насос 3 вручную или автоматически по сигналу давления отключается при помощи открытия перекрывного крана 4, после чего питание цилиндра 1 обеспечивается одним насосом 2, который является регулируемым.
На рис.10.9, а показана принципиальная схема подобной гидросистемы питания потребителей двумя спаренными насосами 5 и 6 с автоматическим переключением. До тех пор, пока давление в линии 3 потребителей не достигнет заданного значения, на которое отрегулирована возвратная пружина двухходового распределителя (переключателя) 1, каналы последнего будут перекрыты, и в линию 3 поступает жидкость от обоих насосов. При заданном же давлении, определяемом характеристикой пружины переключателя 1, насос низкого давления 6 автоматически переключится на бак, насос же 5 с помощью обратного клапана 2 отсоединится от переключателя 1 и будет продолжать питание гидросистемы. Давление, развиваемое в этом случае насосом 5, ограничено предохранительным клапаном 4.
Принципиальная схема подобной же гидросистемы представлена на рис.10.9, б. Эта схема отключается от рассмотренной выше тем, что отключение насоса 6 низкого давления осуществляется электрогидравлическим реле давления 7, подающим при заданном давлении сигнал на электромагнитный переключатель 1.